Точка на карте
г.Москва, Щелковское ш., д.100, корп.10
Пн-Пт: с 10:00 до 19:00
Заказать звонок
Найти
8 (965) 306-12-12
Корзина
0
Логотип rvdmax.ru
8 (965) 306-12-12
Заказать звонок
Корзина
0
Главная / Статьи / Типы фитингов для РВД

Гидравлические фитинги: полный справочник по стандартам и выбору


Старший консультант

Просмотрено: 65 раз
Обновлено: 25 января 2026
Время чтения: 5 мин.

Почему стандарт фитинга — это вопрос безопасности, а не формальности

В гидравлических системах, работающих под давлением в сотни бар, каждый элемент контура несет ответственность за его целостность. Фитинг, будучи точкой соединения, является критически важным узлом. Ошибка в его подборе — это не просто инженерный просчет, а прямой источник рисков: от хронических утечек и снижения эффективности до катастрофической разгерметизации, способной привести к выходу из строя дорогостоящего оборудования и созданию угрозы безопасности персонала. Таким образом, точная идентификация и правильный выбор стандарта фитинга — это базовое условие надежной и безопасной эксплуатации любой гидравлической системы.

Типы и системы резьбы: основа геометрической совместимости

Первый и фундаментальный критерий классификации - тип резьбы. Он определяет возможность механической стяжки деталей. В гидравлике доминируют три основные системы, несовместимые между собой.

  • Метрическая резьба (DIN, ISO, ГОСТ). Параметры указываются в миллиметрах (например, M14x1.5). Является основой для европейских и российских стандартов.
  • Дюймовая трубная резьба (BSP). Параметры в дюймах, угол профиля 55°. Включает параллельную (BSPP/G) и коническую (BSPT/R) формы.
  • Дюймовая резьба UN/UNF (SAE). Параметры в дюймах, угол профиля 60°. Применяется в американских стандартах (JIC, ORFS, NPT).
Для измерения диаметра резьбы используйте штангенциркуль

Принципы уплотнения: основа герметичности соединения

Если резьба обеспечивает стяжку, то герметичность создается отдельным механизмом уплотнения. Именно он определяет метод монтажа и надежность соединения.

  • Уплотнение на резьбе (Thread Seal). Герметичность достигается деформацией витков конической резьбы (BSPT, NPT) с обязательным применением герметика.
  • Уплотнение по конической поверхности (Metal-to-Metal Seal). Герметичность обеспечивается притиркой двух прецизионных конусов. Резьба служит только для стяжки. Герметик не используется (JIC).
  • Уплотнение эластомерным элементом (Elastomeric Seal). Герметичность создается сжатием O-кольца или прокладки. Наиболее эффективно против вибраций (ORFS, SAE Flange).

Детальный обзор основных стандартов

Для правильного выбора необходимо понимать конструктивную логику каждого стандарта, основанную на комбинации типа резьбы и принципа уплотнения.

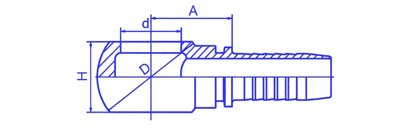
BSP (BSPP) - British Standard Pipe Parallel

Стандарт BSPP (литера G) широко распространен в европейских системах. Его особенность - четкое разделение функций: резьба служит для стяжки, а герметичность обеспечивается отдельным элементом.

Стандарт BSPP (литера G) широко распространен в европейских системах.
  • Тип резьбы: Дюймовая трубная параллельная (G).
  • Принцип уплотнения: Мягкой металлической шайбой (чаще медной), деформируемой на торце.
  • Ключевой признак: Плоский торец под шайбу. Параллельная резьба.
  • Типовая ошибка: Попытка герметизации только герметиком на резьбе.
  • Сфера применения: Промышленная гидравлика, пневматика, системы охлаждения.
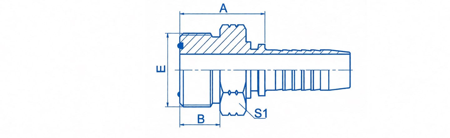
BSPT - British Standard Pipe Tapered

Стандарт BSPT (литера R) основан на классической конической резьбе, где сама резьба отвечает и за стяжку, и за герметичность.

Стандарт BSPT (литера R) основан на классической конической резьбе, где сама резьба отвечает и за стяжку, и за герметичность.
  • Тип резьбы: Дюймовая трубная коническая (R).
  • Принцип уплотнения: По конической резьбе с применением герметика.
  • Ключевой признак: Визуально заметная конусность резьбы.
  • Типовая ошибка: Отсутствие герметика или путаница с BSPP.
  • Сфера применения: Трубопроводные системы для жидкостей и газов.
JIC - Joint Industry Council (SAE J514)

Стандарт JIC является отраслевым эталоном для американской техники. Он сочетает дюймовую резьбу с надежным металлическим уплотнением.

Стандарт JIC является отраслевым эталоном для американской техники.
  • Тип резьбы: Дюймовая UN/UNF.
  • Принцип уплотнения: По конической поверхности 37° (metal-to-metal).
  • Ключевой признак: Металлический конус за резьбой.
  • Типовая ошибка: Применение герметика или путаница с BSPP.
  • Сфера применения: Американская мобильная и авиационная техника, промышленные системы высокого давления.
ORFS - O-Ring Face Seal (SAE J1453)

Стандарт ORFS разработан для работы в условиях высоких вибраций. Герметичность обеспечивается эластомерным кольцом, что гарантирует "нулевую" утечку.

Стандарт ORFS разработан для работы в условиях высоких вибраций.
  • Тип резьбы: Дюймовая UN/UNF.
  • Принцип уплотнения: Торцевым O-кольцом, установленным в канавке.
  • Ключевой признак: Плоский торец с канавкой под кольцо.
  • Типовая ошибка: Повторное использование или повреждение O-кольца.
  • Сфера применения: Гидросистемы мобильной техники, контуры с жесткими экологическими требованиями.
NPT - National Pipe Tapered

Американский стандарт конической резьбы, аналогичный по принципу действия BSPT, но с иными геометрическими параметрами, что исключает их взаимозаменяемость.

NPT - американский стандарт конической резьбы
  • Тип резьбы: Американская коническая (NPT), угол профиля 60°.
  • Принцип уплотнения: По резьбе с применением герметика.
  • Ключевой признак: Коническая резьба, требует замера шагомером для отличия от BSPT.
  • Типовая ошибка: Прямая замена на BSPT или отсутствие герметика.
  • Сфера применения: Трубопроводные системы североамериканского оборудования.
SAE Flange - Фланцевое соединение

Данный стандарт предназначен для участков с экстремальными давлениями и большими диаметрами, где резьбовые соединения неприменимы.

Пример: Изображение такого-то товара
  • Тип соединения: Бесрезьбовое, болтовое.
  • Принцип уплотнения: Фланцевой прокладкой различного типа.
  • Ключевой признак: Фланец с четырьмя и более отверстиями под шпильки или болты.
  • Типовая ошибка: Неравномерная затяжка болтов или повторное использование прокладки.
  • Сфера применения: Присоединение насосов, гидромоторов, распределителей, магистральные линии.
Metric - Метрические фитинги

Обширная группа стандартов, объединенная метрической резьбой. Наиболее распространенным и востребованным типом в этой категории являются фитинги серии DKO, которые могут иметь уплотнение по конусу 24° или 60°. Также встречаются другие серии с уплотнением по сфере или торцевым O-кольцом.

Metric - обширная группа стандартов, объединенная метрической резьбой.
  • Тип резьбы: Метрическая (М), например, M12x1.5.
  • Принцип уплотнения: Варьируется. Для фитингов DKO - уплотнение по конической поверхности. Для других типов - по сфере или торцевым O-кольцом.
  • Ключевой признак: Метрическая резьба. Для правильного подбора критически важно знать не только размер резьбы, но и серию (например, DKO) и тип уплотнения.
  • Типовая ошибка: Подбор только по диаметру резьбы без учета серии и типа уплотнения, что ведет к негерметичному соединению.
  • Сфера применения: Европейское и российское станочное оборудование, промышленные гидравлические системы, специальная техника.
JIS - Japanese Industrial Standard

Стандарт JIS является ключевым для идентификации и подбора фитингов на технике японского производства (Komatsu, Hitachi, Toyota). Его особенность - наличие нескольких типов соединений, которые могут внешне напоминать американские или метрические, но иметь уникальные параметры.

Стандарт JIS является ключевым для идентификации и подбора фитингов на технике японского производства (Komatsu, Hitachi, Toyota).
  • Тип резьбы: Может быть метрической или дюймовой в зависимости от конкретного типа фитинга и модели техники.
  • Принцип уплотнения: Наиболее распространены два вида: с уплотнением торцевым O-кольцом (аналогично ORFS) или по конической поверхности с уникальными углами (например, 30°).
  • Ключевой признак: Требует сверки с каталогом. Внешне может быть практически неотличим от ORFS или метрического конуса, но иметь иные размеры.
  • Типовая ошибка: Механическая замена фитинга JIS на внешне похожий ORFS или метрический фитинг без проверки совместимости. Это почти всегда приводит к течи.
  • Сфера применения: Практически вся гидравлическая система экскаваторов, погрузчиков и другой спецтехники, произведенной в Японии.

Сводная таблица: быстрый определитель стандартов

Быстрый определитель стандартов фитингов для рвд

Пошаговый алгоритм выбора фитинга на замену

  • Документация. Проверьте паспорт оборудования или маркировку на узле.
  • Визуальный осмотр. Определите наличие фланца, тип торца (плоский, с конусом, с канавкой), характер резьбы.
  • Инструментальный замер. Используйте резьбовой калибр (шагомер) и штангенциркуль для определения шага и диаметра резьбы.
  • Сравнение и идентификация. Сопоставьте полученные данные с характеристиками в сводной таблице или техническом каталоге.
  • Уточнение. Для метрических (Metric) и JIS фитингов критически важно определить серию и тип уплотнения. При малейших сомнениях сфотографируйте фитинг и обратитесь к нашим специалистам для бесплатной консультации.

Заключение: надежность как система

Надежность гидравлической системы является результатом точного выбора каждого компонента и соблюдения технологий монтажа. Понимание различий между стандартами фитингов, основанное на знании типов резьбы и принципов уплотнения, позволяет исключить критические ошибки на этапе подбора. Особое внимание стоит уделять метрическим (Metric) и японским (JIS) фитингам, где ключевую роль играет правильное определение серии и типа уплотнения.

Наша компания предлагает комплексное решение: от экспертной помощи в идентификации сложных фитингов до поставки качественных компонентов и профессионального выполнения ремонтных работ. Обеспечьте надежность ваших гидравлических систем - доверьтесь профессионалам.

Надежные фитинги для рвд
Облако тегов
Категории